Apple Watch could have an integrated camera

Apple Watch could get a dedicated camera on a strap.

This is the leak that has been found by Apple Insider two days ago , thanks to the documents published from the US Patent and Trade Mark Office.

Apple seems to have requested a proposal for a Watch band with optical sensor, which means that in the near future we might see a new band accessory for Apple Watch.

This means that the camera won’t be integrated in the chassis of the watch but on the end of the band, which might probably be a loop-style strap.

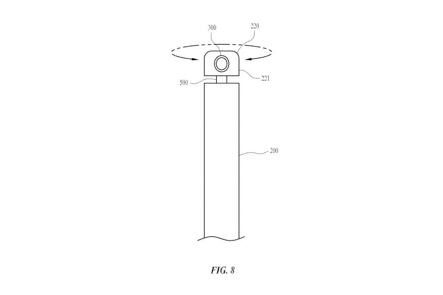
The new camera would be useful for Facetime calls and even shots while using Apple Watch stand alone, and from the technical drawings it seems it can be positioned in different angles through the movement of the strap.

It has been said that a hidden button might be added to the new band, to easily take shots or videos instead of opening an app on the watch .

Be aware that this is not the first time that rumors focuses on Apple Watch cameras, but until now nothing has been released yet.

Also Samsung in the past developed a similar idea integrated in their smartwatch, but the idea is still far from being launched into the market.

At the moment Apple Watch can only be used as iPhone’s camera remote controller and viewfinder, and it would be interesting to see how it will perform.

Anyway, while you are waiting for this new feature you can take a look to our Meridio Shop, with our made in Italy leather bands with no hidden camera but a great handmade design!

Be The First

Get the latest news, invites and offers straight to your mail.

Close X
Access Point List:

    We did not find any delivery point near the desired location

    Currency

    Language

    Close

    First Name

    E-mail

    Birth Date

    How did you find out about us?

    Google Social Friend

    Are you going to use this coupon as a Gift?

    YesNo

    THANK YOU FOR SUBSCRIBING!

    Apply it at checkout